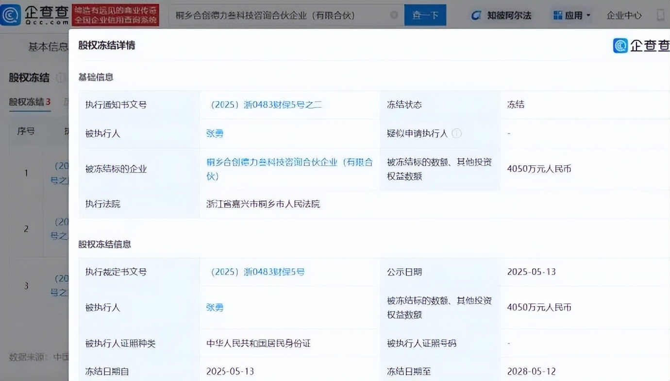
5月26日,据白鹿视频消息,企查查APP显示,近日,张勇新增一条股权冻结信息,冻结股权数额4050万元人民币,被冻结标的企业为桐乡合创德力叁科技咨询合伙企业(有限合伙),冻结日期自2025年5月13日至2028年5月12日,执行法院为浙江省嘉兴市桐乡市人民法院。

此前,哪吒汽车原CEO张勇回应“在英国”传闻。
据此前报道,2025年4月,网络流传多段哪吒汽车经销商向哪吒汽车要钱的视频。
视频中有经销商称,从去年9月份到现在,厂家从未正面回应过经销商们哪怕一次消息,全靠传言。
4月14日,哪吒汽车贵州某经销商周某接受红星新闻记者采访时表示,他已经抵达桐乡市,希望哪吒汽车将拖欠他们的钱款还了,但是没有得到妥善解决。
哪吒汽车相关负责人回应此事,称从经销商层面来讲,他们讲述的事情和实际情况是相符的。从去年哪吒汽车爆出资金链紧张以来,公司一直在寻求融资、努力自救。情况不是那么乐观,还在积极地推进当中。
“我们现在该努力的都在努力,但对于陷入困境的车企来说要进一步融资是很难的。公司经营管理团队还没放弃,一直在做各种努力。供应商反映的事实肯定是存在的,现在也在积极地寻找办法帮他们解决。”该名负责人说。

图源:视觉中国
2024年以来,哪吒汽车风波不断。
据证券时报,有认证为“哪吒汽车员工”的网友在第三方平台称,“哪吒汽车已经发不出工资,并且欠了供应商很多钱”,其还奉劝“大家买哪吒汽车谨慎”。
彼时,哪吒汽车有关负责人回应称,公司正在进行一系列积极的内部管理变革,包括工资结构调整和绩效考核体系的优化。在此过程中,一线销售人员与工厂员工均已按时发放薪资,其余人员先按薪资50%发放,剩余部分待方案通过之后补发。公司方面还透露,其中层和高管在做股权优化和薪资架构调整,IPO前要确权,因此部分工资发放稍慢。
去年10月末,哪吒汽车又传出降薪消息。据媒体报道,哪吒汽车自9月1日起降薪,降薪梯度具体为年薪100万元以上的员工降薪30%;年薪50万元至100万元的员工降薪20%;年薪30万元至50万元的员工降薪10%;年薪30万元以下的员工降薪5%。
对此,哪吒汽车回应称,面对当前复杂多变的市场环境,公司必须采取措施来应对挑战。其中包括实施机构精简、裁汰冗员、业务聚焦、扁平化管理等一系列举措,推动公司向更加高效、精益的运营模式转变。
降薪余波尚未平息。2024年11月7日,媒体又爆出哪吒汽车启动大比例裁员。据财联社的报道,公司此次裁员比例最高或达到70%,各部门有差异。哪吒汽车则称其在构建更集中高效的组织架构,分部门按业务要求和未来发展需要进行整合。
此外,同日,A股公司埃夫特(688165)披露,公司作为原告,对合众新能源宜春分公司(下称“宜春合众”)及合众新能源汽车股份有限公司(下称“合众汽车”)提起诉讼并于2024年11月6日收到宜春市袁州区人民法院出具的《受理案件通知书》。证券时报记者注意到,上述诉讼源于宜春合众拖欠逾4800万元货款所致。

2025年4月,有知情人士透露,哪吒汽车原CEO张勇在离职哪吒前已经办理了英国签证,目前已身在英国。
14日下午,据第一财经日报消息,张勇在朋友圈回应,“感谢大家关心,看到网络上一些传闻,至今仍担任哪吒汽车顾问,为公司四处奔波融资。”
此外,封面新闻记者向哪吒汽车内部管理层询问张勇在英国一事是否属实,公司是否正常运转时,对方表示:“这个真的不知情,公司在正常运转,但运营捉襟见肘。”

张勇。图源:哪吒汽车
4月17日,据媒体报道,哪吒汽车原CEO张勇将其微博账号内容全部隐藏。
截至发稿,张勇微博粉丝量为34.2万,其微博账号中所有内容已无法查看。
张勇的抖音短视频账号目前仍然正常,截至发稿,其抖音账号粉丝量为59.5万。

审核:凌山
本文内容由互联网用户自发贡献,该文观点仅代表作者本人。如发现本站有涉嫌抄袭侵权/违法违规的内容,请发送邮件至 203304862@qq.com
本文链接:https://www.jinnalai.com/car/751516.html
