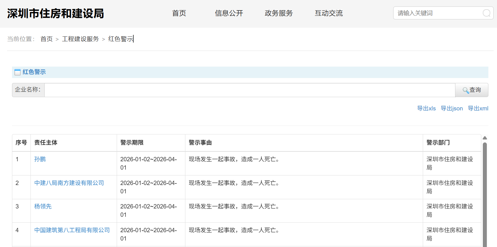
南都·湾财社记者从深圳市住房和建设局官网获悉,中国建筑第八工程局有限公司(以下简称“中建八局”)、中建八局南方建设有限公司及其相关人员近日被深圳住房和建设局处以红色警示3个月,警示时间段为2026年1月2日至2026年4月1日。警示事由为现场发生一起事故,造成一人死亡。

据深圳住建局发布的《关于严厉惩处建设工程安全生产违法违规行为的若干措施(试行)》内容,因安全生产被红色警示的相关单位和人员,红色警示期内列入信用最低等级,纳入全市失信联合惩戒体系,在红色警示期届满后1年内不予升至信用最高等级。
相关实施细则还提到,依法禁止红色警示对象在本市承接新的业务和投标。建设工程发生安全事故导致人员死亡的,相关主管部门应责令涉事工程停工整改,并加强对涉事施工单位在本市其他在建工程的安全检查;其他在建工程存在安全隐患的,依法责令停止施工现场有关作业。同时,相关主管部门应约谈涉事建设、施工、监理等单位的安全生产负责人,并对涉事工地进行挂牌督办。
官网资料显示,中建八局始建于1952年,是世界500强企业——中国建筑股份有限公司的骨干成员,企业以大型房建、基础设施项目为核心业务,是国内建筑领域的头部央企,业务覆盖全国及海外市场,在超高层建筑、大型场馆等工程领域具备行业领先实力。中建八局南方建设有限公司则是其布局华南区域的重要子公司,由中建八局100%持股。
采写:南都·湾财社记者孙阳
本文内容由互联网用户自发贡献,该文观点仅代表作者本人。如发现本站有涉嫌抄袭侵权/违法违规的内容,请发送邮件至 203304862@qq.com
本文链接:https://www.jinnalai.com/jingyan/801495.html
